Description
XÍCH TẢI NẶNG BUSHED ELEVATOR CHAIN
LOẠI DYNB
MESO là đại lý chính thức của DONGYANG tại Việt Nam. MESO chuyên cung cấp sản phẩm như xích băng tải, xích tải hạng nặng, xích chuyên dụng trong môi trường đặc biệt,… Đảm bảo chất lượng tốt và giá hợp lý. Sẵn sàng hỗ trợ, tư vấn khách hàng lựa chọn xích phù hợp với hệ thống sản xuất. Chúng tôi có ưu đãi đặc biệt dành cho các khách hàng thân thiết hoặc mua số lượng lớn.
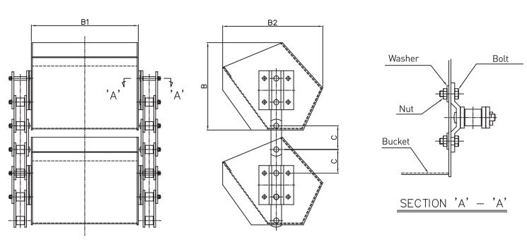
Xích tải nặng Bushed elevator Loại DYNB này của DONGYANG được sử dụng ở những trong trường hợp xích nặng hơn và gồ ghề hơn cho các ngành công nghiệp nặng. Các lĩnh vực chính bao gồm thang máy xi măng, băng tải xưởng gỗ và thang máy, băng tải khác trong môi trường mài mòn. Tất cả bộ phận của xích tải nặng sidebar này được làm bằng hợp kim thép đặc biệt và được xử lý nhiệt. Tuổi thọ dài hơn và ít bảo trì. Xích con lăn không có bụi đã chứng minh trong các thử nghiệm vận hành.







